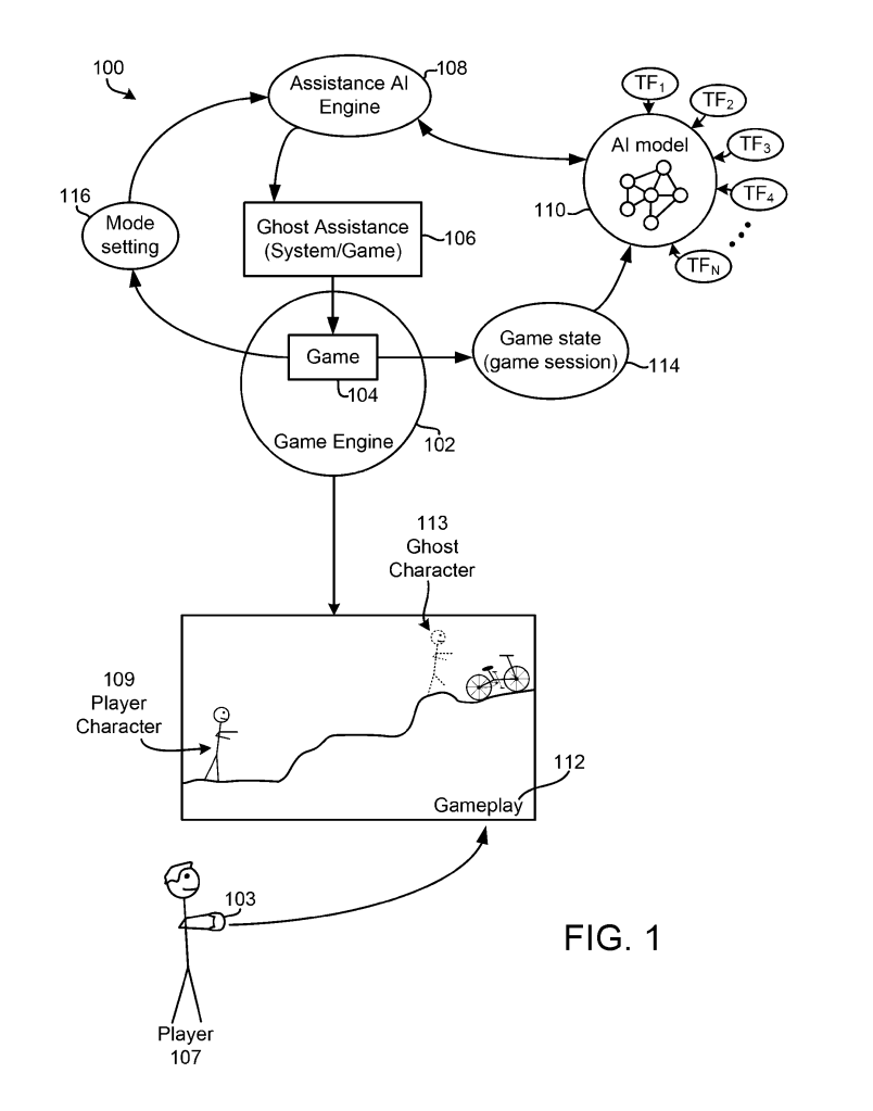
A Sony registrou uma nova patente que pode mudar a forma como lidamos com dificuldades nos jogos. Batizada de “AI-Generated Ghost Player”, a tecnologia descreve um sistema de inteligência artificial capaz de assumir o controle para ajudar jogadores que não conseguem progredir.

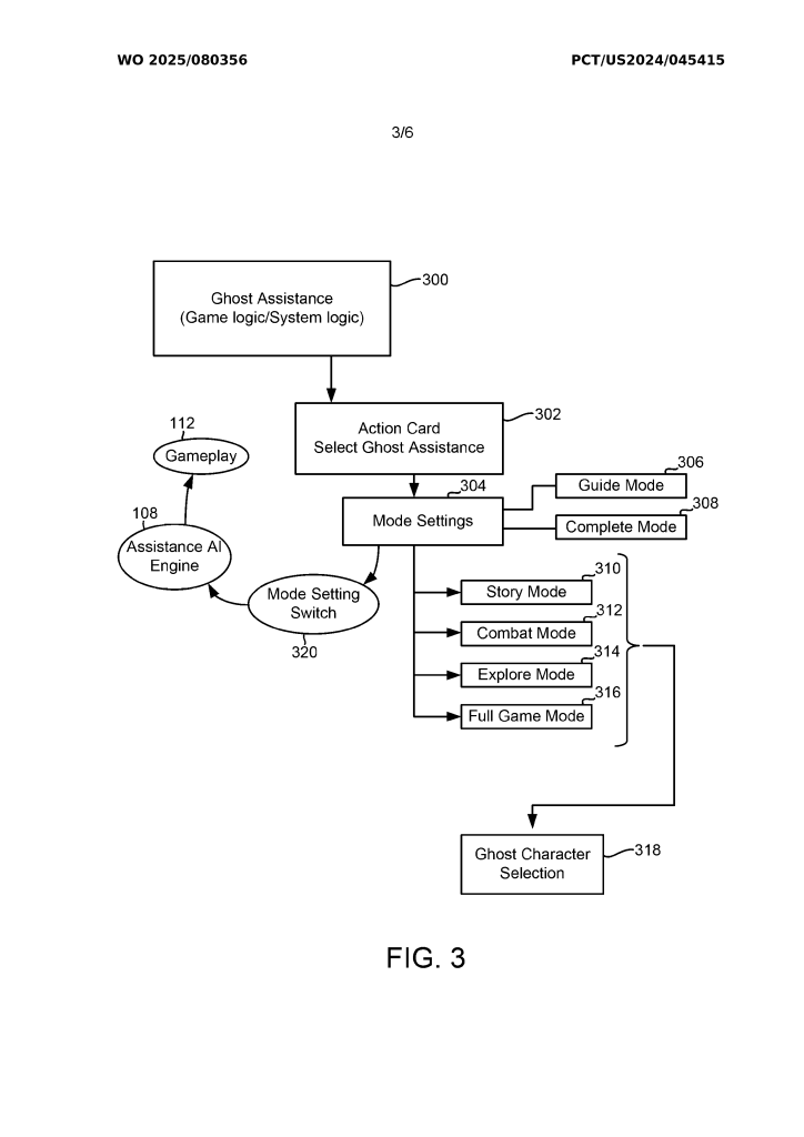
O documento detalha dois modos de funcionamento:
- Guide Mode (Modo Guia): A IA projeta uma versão “fantasma” do personagem (como um Nathan Drake virtual) que demonstra a solução de um puzzle ou o caminho correto, deixando a execução final para o jogador.
- Complete Mode (Modo Completar): A IA assume o comando e finaliza a seção difícil ou o quebra-cabeça automaticamente, permitindo que o usuário pule o trecho.
Diferente de scripts pré-programados pelos desenvolvedores, essa IA seria treinada com base em imagens de gameplay existentes de outros jogadores. A patente sugere que o sistema seria uma evolução do atual “Game Help” do PlayStation 5, oferecendo uma assistência mais direta e interativa do que apenas vídeos ou dicas em texto.

Vale ressaltar que o registro de patentes é uma prática comum e não garante que a tecnologia será implementada em produtos finais ou nos próximos consoles da empresa.
Fonte: VGC





Deixe um comentário