A Sony registrou uma nova patente que detalha os planos para o PSSR 2.0 no PlayStation 5 Pro. Liderada pelo arquiteto de sistema Mark Cerny em parceria com a AMD, a atualização busca corrigir falhas visuais e estabilizar o desempenho de jogos otimizados para o console, integrando elementos do FSR4.

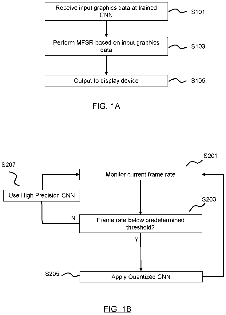
O documento, intitulado “Graphics Processing”, introduz o conceito de quantização em tempo real. Atualmente, quedas na taxa de quadros costumam forçar os desenvolvedores a reduzir a resolução nativa do jogo. Com o PSSR 2.0, o sistema reduzirá temporariamente o uso de Redes Neurais Convolucionais (CNN) durante picos de processamento pesado.

sony nova patente pssr
sony nova patente pssr

Isso permite que a resolução base permaneça intacta enquanto a performance é estabilizada.

A expectativa é que a novidade seja disponibilizada nos kits de desenvolvimento nos próximos meses. Além das melhorias voltadas ao PS5 Pro, relatórios recentes indicam que a Sony não planeja aumentar o preço do PlayStation 5 padrão, absorvendo a alta nos custos globais de memória RAM através do lucro com softwares.

Fonte: MP1ST